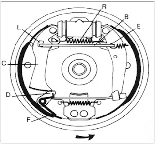
COFLE Tirette à câble, frein de stationnement pour PEUGEOT 10.6217 Couleur : noir Numéro OEM : 1612865480 9810501780 Autre numéro : 471911 470214 470210 470218 698343 Compatibilité automatique : pour Peugeot 508 Remarque : 1., Si vous n'êtes pas sûr que l'article convient à votre véhicule, contactez-nous avec votre numéro VIN/châssis, nous vérifierons la compatibilité. Actionneur Frein à Main électrique Module Frein Stationnement Pour Peugeot 508 470218 Élément Commande Frein Stationnement 1612865480 9810501780 471911 Voiture Mécanisme Frein À Main Électrique Moteur Actionneur Frein(9810501780 Pièce Remplacement 471911 Type d'installation : installation directe. Non seulement ce module de commande de frein de stationnement gare-ou libère efficacement le véhicule, mais il dispose également de mécanismes de contrôle et de protection complets pour garantir un fonctionnement stable du système et la sécurité du propriétaire Actionneur de frein de stationnement, mécanisme de frein à main électrique, élément de commande, moteur pour Peugeot 508 1612865480 9810501780 471911 470218... Frein de stationnement pour Peugeot 508 470218 1612865480 9810501780 471911, mécanisme de frein à main électrique, moteur, élément de commande de frein de stationnement (471911, 2 pièces) Veuillez vérifier toutes les images avant d'acheter. REMPLACEMENT DIRECT : L'ensemble de câbles de frein de stationnement électronique est conçu pour un ajustement précis et un fonctionnement fiable en tant que pièce de rechange OEM directe Spécifications : Type : actionneur de frein de stationnement électronique. La couleur réelle de l'article peut varier légèrement en fonction de la luminosité et des paramètres d'affichage. Français : Pour Peugeot 508 470218 1612865480 9810501780 471911 Mécanisme de frein à main électrique de voiture Élément de commande de frein de stationnement.