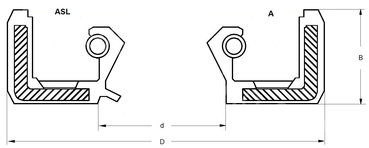
Joint d'étanchéité radial haute performance pour une protection fiable. Cette bague d'étanchéité est adaptée pour les transmissions, les compresseurs, les pompes hydrauliques, M Fabriqué en NBR 70 de qualité supérieure, cette bague d'étanchéité pour pompes, transmissions et moteurs résiste aux conditions extrêmes et offre une résistance à l'huile, à la graisse, à l'eau et aux fluides hydrauliques. Que ce soit dans l'industrie automobile, l'industrie ou l'ingénierie mécanique, cette bague d'étanchéité haute performance réduit la friction, minimise l'usure et augmente l'efficacité. NBR 70 et renfort en métal durable : cette bague d'étanchéité est fabriquée en NBR 70 à haute résistance et offre une excellente résistance à l'huile, à la graisse et aux fluides hydrauliques. Il assure un fonctionnement fluide, réduit l'usure et contribue à prolonger la durée de vie des machines rotatives. Joint Arbre 55x68x10 NBR 70 Parts And Parts Joint D'étanchéité Pour Arbre Radial 55 X 65 Joint Pompe Moteur Haute Température Lot de 5 joints d'étanchéité pour arbre radial de type TC 55 Avec une plage de température de -30 °C à +100 °C, il reste flexible et efficace même dans des environnements de travail difficiles, assurant des performances durables et réduit le besoin de remplacements fréquents. Le joint d'arbre radial Parts and Parts 55 x 68 x 10 mm a été conçu pour fournir une étanchéité sûre et sans fuite pour les moteurs, les pompes, les boîtes de vitesses et les systèmes hydrauliques. Nous proposons différentes tailles de bagues d'étanchéité pour différentes applications afin de garantir une compatibilité et une efficacité maximales. Pack de 5 plinthes bord arrondi MDF revêtues blanc 2200 x 68 x 10 mm... Cette bague d'étanchéité pour ondes radiales est idéale pour les machines à haute pression et à grande vitesse et empêche les fuites de liquide et les impuretés. Utilisation polyvalente pour les applications industrielles et automobiles : cette bague d'étanchéité est idéale pour les moteurs, les transmissions, les pompes, les compresseurs et les systèmes hydrauliques, assurant une étanchéité sans fuite entre les arbres rotatifs et les boîtiers. Taille parfaite et installation facile : avec une conception précise de 55 x 68 x 10 mm (diamètre intérieur x diamètre extérieur x largeur), cette bague d'étanchéité offre un ajustement serré et sûr dans le joint d'huile pour les pompes et les arbres radiaux. DockMag, Joint d’étanchéité pour niveleurs de quais SAML 35 2650mm... Large résistance à la température et aux produits chimiques : ce joint fonctionne dans des conditions extrêmes avec une plage de température de -30 °C à +100 °C. Parfait pour l'automobile, la fabrication, la construction et les installations industrielles. L'anneau en métal renforcé assure une durabilité, une stabilité et une résistance à l'usure supplémentaires, ce qui le rend idéal pour les applications industrielles lourdes.